网站首页教育正文

华为已申请尊界和世界商标

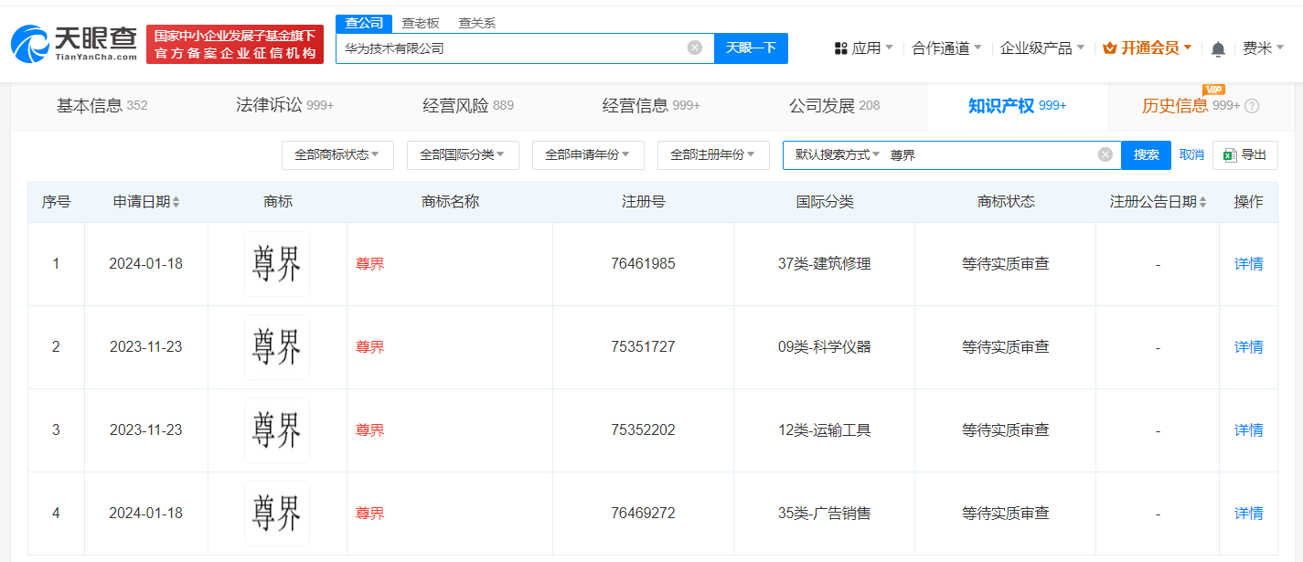
天眼查显示,华为技术有限公司已于去年11月和今年1月申请4枚“尊界”商标,国际分类为建筑修理、科学仪器、运输工具、广告销售,当前商标状态均为等待实质审查。值得一提的是,华为公司除申请上述四界商标外,还申请了数十种界字相关商标,包括“御界”“道界”“江界”“君界”“极界”“幻界”“傲界”“天界”“勇界”“拓界”等,今年6月,该公司还刚刚申请了“世界”商标。

华为已申请尊界和世界商标